
產品特性
■針對火力發電廠煙氣脫硫工程特點精心設計,滿足1000MW及以下機組煙氣脫硫工藝流程
■水力模型經過CFD優化設計,具有**的抗汽蝕性能
■專門為煙氣脫硫工藝設計的機械密封裝置,具有獨特的可靠性、適用性
■泵轉子部件能通過后軸承盒調節葉輪在泵腔中的位置,對輕度磨損后恢復泵性能提供了便捷手段
■軸向調節結構設計,通過調節可保持葉輪與前蓋板間隙,以利高效率運行
■專門為FGD流程研制的耐磨、耐蝕雙相不銹白口鐵,兼有雙相不銹鋼和合金白口耐磨鑄鐵之優點
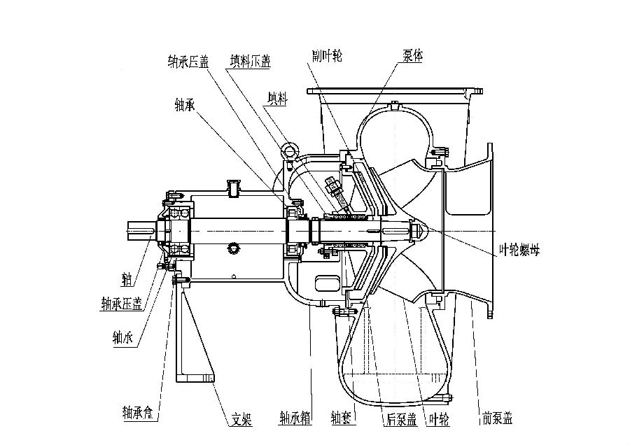
產品結構
■泵整體為全金屬泵結構,不采用襯膠或其他高分子材料
■泵體采用2605N或2205雙相不銹鋼材質,具有很好的抗氯離子和硫酸根離子的能力,是脫硫用泵的金屬材料的首選材料
■泵為前、后開式結構,在拆卸葉輪、機械密封和其他組件時無需拆卸泵進出口管線
■機械密封為單端面集裝式機封,用戶可選擇內沖洗型和外沖洗型
■軸承部件采用懸架、后拉式結構,泵傳動采用直聯傳動或減速器變速傳動
結構示意圖如下:

■過流部件根據輸送介質選用:2605N或2205雙相不銹鋼,以及專門為FGD裝置吸收塔研制的Cr30耐磨、耐腐材料
■懸架、軸承箱等部件:HT200
主要配置項目 | 廠家標配 | 可選配置 |
電動機 | 國產品牌(重慶/西安) | 南陽,佳木斯,ABB,茵夢達或指定品牌 |
軸承 | 哈瓦洛 | SKF,NSK,FAG或指定品牌 |
機封 | 自貢 | 四川日機,成都一通,上海博格曼 |
法蘭及配對法蘭 | 行業標準 | 歐標,德標,美標,日標,國標 |
聯軸器 | 柱銷聯軸器 | 膜片式聯軸器 |
軸封方式 | 單端面集裝式(一般工況) | 據實際工況 |
底座 | 槽鋼焊接 | 整體鑄造 |
